Цепи приводные втулочные однорядные и многорядные ПВ

Цепь приводная втулочная характеризуется рядом качеств, столь необходимыми в современных отраслях промышленности и быту. Сюда относится высокий КПД, надежность, бесшумность работы и доступная цена. Приводные цепи исполняют роль передатчика крутящего момента в различных машинах и механизмах. Как правило, втулочные цепи применяются в агрессивных условиях (влажность, запыленность, промышленный песок и грязь). Производство цепей данного класса совершенствовалось на протяжении многих лет, пока современные аналоги не стали соответствовать наиболее часто выдвигаемым требованиям безопасности, надежности и износостойкости. Исходя из технических особенностей, втулочные цепи делятся на два больших класса: однорядные и многорядные. Значимый параметр – величина нагрузки (кг). Работают цепи в условиях относительно малых скоростей.
Цена: от 115 руб. за 1 п.м.
Пример условного обозначения при заказе
Цепь ПВ-9,525-1300, где:
- ПВ - приводная втулочная цепь;
- 9,525 - шаг цепи, мм;
- 1300 - разрушающая нагрузка, кг.
Общее описание

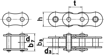
РИС. 1
Цепи приводные втулочные однорядные

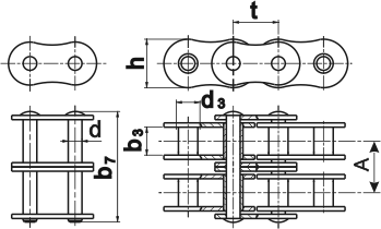
РИС. 2
Цепи приводные втулочные многорядные
|
Обозначение цепи |
Основные параметры, мм |
Разрушающая |
Масса 1м |
||||||
|---|---|---|---|---|---|---|---|---|---|
|
t |
b3 |
b7 |
d |
d3 |
h |
A |
|||
|
ПВ-9,525-1300 |
9,525 |
9,52 |
21,2 |
4,45 |
6,00 |
9,85 |
- |
1300 |
0,65 |
|
ПВ-9,525-1150 |
9,525 |
5,20 |
27,5 |
4,45 |
6,00 |
9,85 |
- |
1150 |
1,00 |
|
2ПВ-9,525-2340 |
9,525 |
9,52 |
36,0 |
4,45 |
6,00 |
9,85 |
16,7 |
2340 |
1,26 |
|
2ПВ-9,525-1600 |
9,525 |
4,68 |
22,3 |
3,62 |
5,05 |
8,83 |
10,13 |
1600 |
0,82 |
ТАБЛ. 1 Основные параметры цепей